Operation CHARM: Car repair manuals for everyone.

Installation

Figure 16 - SPINDLE BEARING INSTALLATION:





1. Position a new needle bearing (3123) in the spindle bore of the spindle (3107). The writing on the bearing must face the rear of the spindle. Drive the bearing into the spindle with the Spindle Bearing Replacer, T80T-4000-R, and Driver Handle, T80T-400-W. Pack the bearing with Long Life Lubricant (C1AZ-19590-B) ESA-M1C75-B. Install the seal (1175) in the bore against the bearing with the open end of the "V" facing the rear of the spindle. Refer to Figure 16.

Figure 17 - SLINGER/SEAL/PLASTIC SPACER INSTALLATION:




Figure 18 - "V" SEAL TO SLINGER INSTALLATION:




Figure 19 - APPLY GREASE TO SEAL LIP:





2. Press a new slinger on the axle shaft with an appropriate piece of press stock. Refer to Figures 17, 18 and 19.

Figure 19 - APPLY GREASE TO SEAL LIP:





3. Install the rubber V-seal on the slinger and axle shaft. The lip of the seal should face towards the spindle. Refer to Figure 19.

Figure 18 - "V" SEAL TO SLINGER INSTALLATION:





4. Install the plastic spacer (3299) on the axle shaft. The chamferred side of the spacer should be inboard against the axle shaft. Refer to Figure 18.

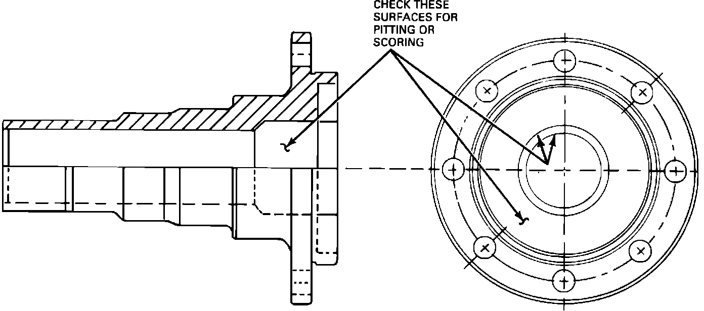
Figure 20 - SPINDLE CHECKING AREAS FOR RUST/SCORING/PITTING:





5. Pack the thrust face of the seal in the spindle bore and the V-seal on the axle shaft with Long Life Lubricant (C1AZ-19590-B) ESA-M1C75-B or equivalent. Refer to Figure 20.
6. Carefully guide the axle shaft through the knuckle and into the axle housing. Guide the R.H. axle shaft into the slip yoke. Install a new slip yoke boot clamp on R.H. side. Make sure the L.H. axle shaft splines are engaged in the differential side gear splines.

7. Install the splash shield on the steering knuckle.

8. Pack the caged needle bearing and seal area of the spindle with Long Life Lubricant (C1AZ-19590-B) ESA-M1C75-B or equivalent.

9. Place the spindle on the steering knuckle. Install and tighten the retaining nuts to 20-30 ft.lbs. torque.

10. Install the hub and rotor assembly on the spindle.

11. Install the inner locknut on the spindle and seat the bearing by tightening the locknut to 68 N-m (50 ft.lbs.) with Spanner Locknut Wrench, D85T- 1197-A.

12. While rotating the hub and rotor, back off the locknut 135-150 degrees.

13. Install the lockwasher so the key is positioned in the spindle groove. Rotate the inner locknut so the pin is aligned into the nearest lockwasher hole.
14. Install the outer locknut and retighten to 203 N-m (150 ft.lbs.) using Spanner Locknut Wrench, T83T-1197-B.

NOTE:
The final spindle end play should be 0.000-0.015 mm (0.000-0.006 inch).

15. Install the manual locking hub body assembly into the hub and rotor as outlined under Manual Locking Hub Removal/Installation.

16. Install the lock ring in the hub groove to retain the body in the hub.

17. Install the snap ring on the end of the axle shaft to retain the shaft to the body.


PART NUMBER PART NAME CLASS

D3TZ-3C132-A Slinger B
D6TZ-1175-A Seal A
D6TZ-1175-C Seal A
D6TZ-3299-A Spacer AM
C6TZ-3123-A Needle Bearing A

OTHER APPLICABLE ARTICLES: None
WARRANTY STATUS: Reimbursable within the provisions of the Warranty and Policy Manual.

OPERATION: SP3076A85L
TIME: 0.9 Hr. - Left hand side seals
OPERATION: SP3076A85R
TIME: 0.9 Hr. - Right hand side seals
OPERATION: SP3076A85T
TIME: 1.7 Hrs. - Both side seals
OPERATION: SP3220A85L
TIME: 0.3 Hr. - Extra time to replace left outer shaft
OPERATION: SP3220A85R
TIME: 0.3 Hr. - Extra time to replace right outer shaft
OPERATION: SP3220A85T
TIME: 0.5 Hr. - Extra time to replace both outer shafts
DLR. CODING: Basic Part No. 1175 - Code: 48